公司简介
工厂展示
企业文化
人才理念
联系我们
企业介绍
版权信息
O型圈
包覆O型圈
X型圈
四氟产品
格莱圈/斯特封
ED圈
骨架油封
V型圈
防尘密封
泛塞O型圈
导向元件
组合垫圈
活塞杆密封
O型圈修理盒
橡胶杂件
Y型圈
公司新闻
行业新闻
生产工艺
生产流程
服务流程
服务理念
营销网络
首 页
企业介绍
产品中心
新闻中心
质量品控
售后服务
技术资料
联系我们
防尘密封
J型防尘圈
JA型超薄防尘圈
DHS型
LBH型
DH型
FA型防尘圈
FC型防尘圈
防尘套
首页
> 防尘密封 >
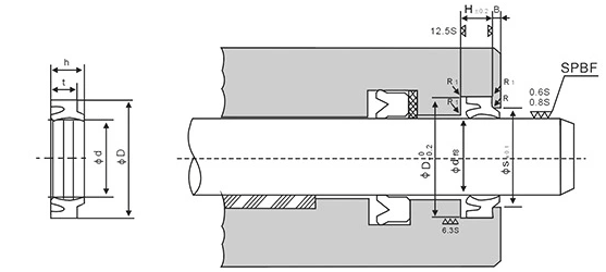
DHS型
DHS型
DHS型防尘圈
产品细节展示
DHS型防尘圈产品简介:
QQ在线咨询
电 话
86 021 54705785
移动电话
13564411832
企业介绍
产品中心
新闻中心
质量品控
售后服务
技术资料
联系我们
上海沐芬密封机电设备有限公司
沪ICP备18005628号-1
访问统计: 7